Trennstellenkasten für WDV-Systeme
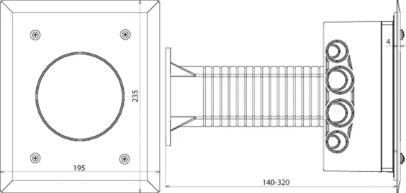
Mit dem Trennstellenkasten können Montagehöhen von 90-140 mm stufenlos eingestellt werden. Der zusätzliche Abstandshalter ermöglicht den Einsatz bei Dämmstoffstärken bis 320 mm.
Durch das Anbringen eines Quellbandes sowie durch den speziell gekanteten und mit einer Dichtung ausgestatteten Deckel aus NIRO kann ein abgedichteter Einbau erfolgen.
Alle notwendigen Befestigungselemente (Schrauben und Dübel) sowie eine Styroporabdeckung (Schutz vor Verunreinigung während der Putzarbeiten) sind im Lieferumfang enthalten.
Geeignet für Leitungseinführungen (Perforationen):
– Runddraht Ø8-10 mm
– Runddraht mit Kunststoffmantel Ø13 mm
– HVI-Leitungen Ø20-27 mm
– Flachband 30x3,5 mm
Die notwendige Trennklemme und das Nummernschild sind separat zu bestellen.
Details
Part No. 476055 TSKS WDVS 185X140X88 AH50.200 K V2A
GTIN 4013364219755, Customs tariff No. (EU): 85359000, Gross weight: 1.02 kg, PU: 1.00 Stk.
Technical data
| Werkstoff Kasten | PC / ABS |
| Abmessung Kasten | 185 x 145 mm |
| Werkstoff Deckel | NIRO |
| Werkstoff Abstandshalter | PP |
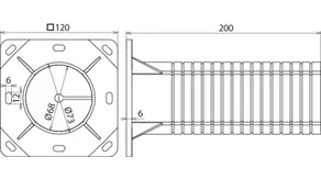
| Abmessung Abstandshalter | 120 x 120 x 200 mm |
| Einbauhöhe | 90-320 mm |
Part No. 476050 TSK WDVS 180X140X88 K V2A
GTIN 4013364219717, Customs tariff No. (EU): 85359000, Gross weight: 1.02 kg, PU: 1.00 Stk.
Technical data
| Werkstoff Kasten | PC / ABS |
| Abmessung Kasten | 185 x 145 mm |
| Werkstoff Deckel | NIRO |
| Einbauhöhe | 90-140 mm |
Part No. 476053 AH TSK WDVS 50.200 K
GTIN 4013364219724, Customs tariff No. (EU): 39259080, Gross weight: 225.00 g, PU: 1.00 Stk.
Technical data
| Werkstoff Abstandshalter | PP |
| Abmessung Abstandshalter | 120 x 120 x 200 mm |